盐酸废水处理的秘诀,让你的废水达到国家排放标准
盐酸废水处理不再难,这些方法让你轻松解决
盐酸废水是一种常见的工业废水,如果不进行合理的处理,会对环境和人体造成严重的危害。那么,盐酸废水如何处理呢?本文将为你介绍五种高效的盐酸废水处理方法,让你的废水变成宝,达到国家排放标准,节省成本,保护环境。
盐酸废水是一种常见的工业废水,主要来源于钢铁、电镀、化工、稀土等行业的酸洗、清洗、生产过程。盐酸废水的主要特点是酸度高、含铁量高、浓度低,对环境和人体有很大的危害。如果不进行合理的处理,盐酸废水会造成以下问题:
- 对水体造成污染,破坏水生态平衡,影响水质和水资源的利用;
- 对土壤造成污染,降低土壤肥力,影响农作物的生长和品质;
- 对空气造成污染,产生刺激性气味,影响人体的呼吸和健康;
- 对设备造成腐蚀,降低设备的使用寿命和性能,增加维修和更换的成本;
- 对企业造成经济损失,增加废水处理的费用,降低企业的效益和竞争力。
那么,盐酸废水如何处理呢?本文将为你介绍五种高效的盐酸废水处理方法,让你的废水变成宝,达到国家排放标准,节省成本,保护环境。
方法一:水解中和法
水解中和法是一种将盐酸废水中的酸性物质与碱性物质反应中和的方法。在该方法中,通常使用石灰、氢氧化钠等碱性物质来中和盐酸废水中的酸性物质。该方法的优点是易于操作,运行成本较低。该方法的原理如下:
盐酸废水 + 碱性物质 → 中性水 + 盐类
该方法的步骤如下:
- 将盐酸废水经过预处理,去除油污、悬浮物等杂质,提高中和效果;
- 将预处理后的盐酸废水与碱性物质按一定的比例混合,进行中和反应,调节废水的pH值,使之达到国家排放标准;
- 将中和后的废水经过沉淀、过滤等后处理,去除反应产生的沉淀物和残留物,得到清澈的中性水;
- 将中性水进行再利用或者排放,将沉淀物进行无害化处理或者综合利用。
方法二:活性炭吸附法
活性炭吸附法是一种通过活性炭吸附盐酸废水中的有机物、重金属等物质来净化废水的方法。活性炭是一种具有很高的比表面积和孔隙率的碳素材料,能够有效地吸附废水中的有机物、重金属、色度、气味等物质。该方法的优点是吸附效率高,处理效果好。该方法的原理如下:
盐酸废水 + 活性炭 → 净化水 + 含污活性炭
该方法的步骤如下:
- 将盐酸废水经过预处理,去除油污、悬浮物等杂质,提高吸附效果;
- 将预处理后的盐酸废水与活性炭按一定的比例混合,进行吸附反应,使废水中的有机物、重金属等物质被活性炭吸附,得到净化水;
- 将净化水进行再利用或者排放,将含污活性炭进行再生或者更换。
方法三:离子交换法
离子交换法是一种利用离子交换树脂的选择性吸附作用,将盐酸废水中的酸性物质和金属离子与树脂中的离子进行交换,从而实现酸与金属离子的分离和回收的方法。离子交换树脂是一种含有可交换离子的高分子材料,能够根据不同的类型和性质,选择性地吸附废水中的酸性物质和金属离子。该方法的优点是回收率高,资源利用率高。该方法的原理如下:
盐酸废水 + 离子交换树脂 → 回收酸 + 回收金属 + 再生树脂
该方法的步骤如下:
- 将盐酸废水经过预处理,去除油污、悬浮物等杂质,提高交换效果;
- 将预处理后的盐酸废水与离子交换树脂按一定的比例混合,进行交换反应,使废水中的酸性物质和金属离子被树脂吸附,得到回收酸和回收金属;
- 将回收酸和回收金属进行再利用或者销售,将含污离子交换树脂用水或者碱性物质进行再生,恢复其交换能力。
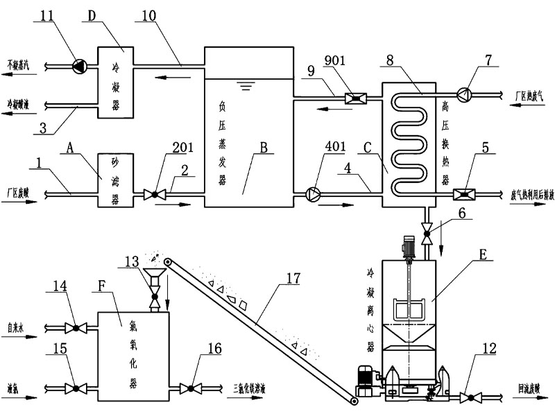
方法四:蒸发法
蒸发法是一种利用蒸汽或者其他热源,对盐酸废水进行加热蒸发,获得盐酸和浓缩液的方法。蒸发法是一种资源化处理的方法,能够将盐酸废水中的有价值的成分回收利用,减少废水的排放量和处理成本。该方法的优点是处理效率高,回收效果好。该方法的原理如下:
盐酸废水 + 蒸汽或其他热源 → 盐酸 + 浓缩液
该方法的步骤如下:
- 将盐酸废水经过预处理,去除油污、悬浮物等杂质,提高蒸发效果;
- 将预处理后的盐酸废水与蒸汽或其他热源进行加热蒸发,使废水中的水分和盐酸分离,得到盐酸和浓缩液;
- 将盐酸进行再利用或者销售,将浓缩液进行进一步的处理或者排放。
方法五:焙烧法
焙烧法是一种利用高温炉,对盐酸废水进行高温焙烧,获得氯化氢气体和固体残渣的方法。焙烧法是一种终端处理方法,能够将盐酸废水中的所有物质彻底分解,消除废水的危害。该方法的优点是处理彻底,无二次污染。该方法的原理如下:
盐酸废水 + 高温炉 → 氯化氢气体 + 固体残渣
该方法的步骤如下:
- 将盐酸废水经过预处理,去除油污、悬浮物等杂质,提高焙烧效果;
- 将预处理后的盐酸废水送入高温炉,进行高温焙烧,使废水中的水分和有机物挥发,金属和无机物熔化,得到氯化氢气体和固体残渣;
- 将氯化氢气体进行净化和回收,将固体残渣进行无害化处理或者综合利用。
如果你想了解更多关于盐酸废水处理的知识和技术,欢迎访问我们的官网在线客服免费咨询。我们是烟台康怡环保有限公司,专业从事水处理设备的研发、生产、销售和服务。我们拥有专业的技术团队和服务团队,为客户提供全方位的咨询、设计、安装、调试、维护等服务。
我们有丰富的工程经验和成功案例,根据客户的实际情况和需求,提供最优化的水处理解决方案。我们的产品和品牌优质可靠,保证工业净水设备的性能和质量,赢得客户的信赖和满意。我们的核心业务范围是:污水水处理设备、净水水处理设备、废水水处理设备、臭氧水处理设备、反渗透水处理设备和行业解决方案。


