首页
产品中心
行业资讯
项目案例
关于我们
135-6253-3652
国家高兴技术企业
一站式水处理解决方案专家
废水知识
您的位置:
首页 >>
废水知识
废水治理费用的构成和影响因素,你了解吗?
废水治理费用是指为了达到一定的废水处理效果,需要投入的各种经济资源的总和。废水治理费用的高低不仅关系到企业的经济效益,也影响着环境保护的可持续性。本文将为你介绍废水治理费用的构成、计算方法、影响因素,以及如何降低废水治理费用的实用技巧,帮助你更好地掌握废水治理的成本和效益。
2023-11-14
如何选择合适的公司废水处理方案?康怡环保为你解答!
公司废水处理是一个关系到企业发展和社会环境的重要问题,选择一家专业、可靠、高效的废水处理服务商,是每个企业的迫切需求。康怡环保是一家拥有10年工程经验和成功案例的水处理设备制造商,为客户提供全方位的咨询、设计、安装、调试、维护等服务。康怡环保的产品涵盖污水水处理设备、净水水处理设备、废水水处理设备、臭氧水处理设备、反渗透水处理设备等,能够根据客户的实际情况和需求,提供最优化的水处理解决方案。
2023-11-14
废水污物处理方案的优势、流程和注意事项,一文全解
废水污物处理方案是指根据不同类型和特性的废水,采用合理的工艺技术和设备,将废水中的有害物质去除或降低,使之达到一定的水质标准,以便于回用或排放的方案。废水污物处理方案的选择应考虑废水的水量、水质、处理目的、经济效益、运行管理等因素。本文将为你介绍废水污物处理方案的优势、流程和注意事项,帮助你选择最适合你的方案。
2023-11-14
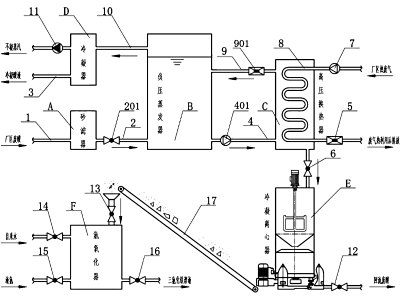
如何高效低成本地处理甲醇废水?看这篇文章就够了!
甲醇废水是指在甲醇的生产或使用过程中产生的高浓度有机废水,如果不加处理,会对环境造成严重的污染和破坏。那么,如何有效地处理甲醇废水呢?本文将为你介绍甲醇废水处理的三大难题,以及相应的解决方案和技巧。你将了解到甲醇废水的特点、处理方法、优缺点、注意事项等,帮助你选择最适合你的甲醇废水处理工艺。
2023-11-14
盐酸废水处理的秘诀,让你的废水达到国家排放标准
盐酸废水是一种常见的工业废水,如果不进行合理的处理,会对环境和人体造成严重的危害。那么,盐酸废水如何处理呢?本文将为你介绍五种高效的盐酸废水处理方法,让你的废水变成宝,达到国家排放标准,节省成本,保护环境。
2023-11-14
废水处理指标有哪些?如何选择合适的指标?
废水处理指标是指用来评价废水处理过程中的水质状况和处理效果的参数。废水处理指标的选择应根据废水的来源、特性、排放去向、排放标准、处理工艺等因素综合考虑。本文将介绍废水处理指标的含义、分类和选择方法,帮助你提高废水处理效率和质量。
2023-11-14
如何选择合适的化学处理法废水处理设备和工艺
化学处理法是一种通过化学反应和传质作用来分离、去除或转化废水中的污染物质的废水处理方法。它具有处理效果好、适用范围广、操作简单等优点,但也有一些缺点和风险,需要注意。本文将为你介绍化学处理法废水处理的原理、优势和注意事项,以及如何选择合适的设备和工艺,还将分享一些成功的案例和经验,帮助你更好地了解和应用这种方法。
2023-11-09
废水处理报价单的秘密,你知道吗?揭开康怡环保的报价单背后的真相
废水处理报价单是废水处理行业的重要文件,它直接影响着客户的选择和满意度。但是,很多人对废水处理报价单的制作方法和注意事项并不清楚,导致报价单的质量不高,无法体现出废水处理设备的性能和价值。本文将为你介绍废水处理报价单的制作方法和注意事项,以及康怡环保为什么能够提供最优惠的报价单服务,让你轻松制作出专业的废水处理报价单。
2023-11-09
如何处理含氢氟酸废水?康怡环保告诉你答案!
含氢氟酸废水是一种难降解的工业废水,如果不进行有效的处理,会对环境和人体造成严重的危害。本文介绍了几种常用的含氢氟酸废水的处理方法,比较了它们的优缺点,分析了它们的适用范围和效果。同时,本文还揭示了一个关于含氢氟酸废水的处理的惊人的秘密,让你的处理效率和成本大大提升。如果你想了解更多关于含氢氟酸废水的处理的知识和技巧,那么请继续阅读本文,康怡环保将为你提供最专业的咨询和服务。
2023-11-09
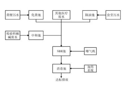
医疗废水处理,你知道哪种方法最好吗?
医疗废水处理是一个关系到人类健康和环境安全的重要问题,但是很多人对医疗废水处理的方法和原理并不了解,甚至存在一些误区和盲点。本文将为你介绍医疗废水处理的基本方法、优缺点、常见问题和解决方案,以及一种高效、安全、经济的医疗废水处理设备,让你的医疗废水处理更加轻松、省心。
2023-11-09
1
2
3
资讯中心
项目案例
净水知识
污水知识
废水知识
臭氧知识
反渗透知识
服务热线
135-6253-3652
最新资讯
1
化工废水处理的四大方法,让你的废水达标排放,还能节省成本和资源
2
如何高效处理硫酸盐废水?康怡环保为你提供专业解决方案!
3
废水中的酸,不处理就后悔!看看这些惊人的事实和解决方案!
4
磷酸废水处理的三大难点和三大突破,你知道吗?
5
硝酸废水处理不再是难题,这些技术让你轻松搞定
康怡科技
山东省烟台市高新区刘家埠860号
940314089@qq.com
135-6253-3652
Copyright © 2023 烟台康怡环保科技有限公司 版权所有 -
鲁ICP备20012943号-1
管理员登录
产品中心
净水设备
污水设备
臭氧设备
反渗透设备
关于我们
公司简介
工程案例
荣誉资质
联系我们
行业资讯
净水知识
污水知识
臭氧知识
反渗透知识
联系我们
加入我们
微信公众号